|
产品名称:Q41F三片式法兰球阀
产品型号:Q41F
产品口径:DN6~DN100
产品压力:1.6Mpa~6.4Mpa(W.O.G)
产品材质:铸钢、不锈钢
产品口径:DN6~DN100
产品压力:1.6Mpa~6.4Mpa(W.O.G)
产品材质:铸钢、不锈钢
产品名称:三片式法兰球阀 产品型号:Q41F 公称通径:DN6~DN100结构形式:球形公称压力:1.6Mpa~6.4Mpa(W.O.G)连接方式:法兰适用温度:-20~232℃~350℃ 驱动方式:
产品说明Q41F三片式法兰球阀适用于PN1.0~6.4MPa,工作温度-29~180℃(密封圈为增强聚四氟乙烯)或-29~300℃(密封圈为对位聚苯)的各种管路上,用于截断或接通管路中的介质。选用不同的材质,可分别适用于水、蒸汽、油品、硝酸、醋酸等多种介质。执行标准设计规范:GB/T 12237结构长度:GB/T 12221 连接法兰:JB/T 79,HG20592,GB9113,ANSI 试验与检验:JB/T 9092,GB/T13927 压力-温度:GB/T 9131 产品标识:GB/T 12220 产品特征。
主要零件材料
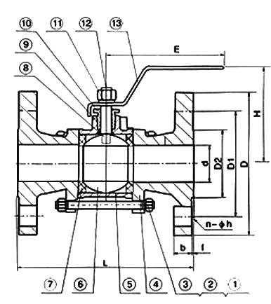
外形结构图![]() 主要连接尺寸及重量
|
|||||||||||||||||||||||||||||||||||||||||||||||||||||||||||||||||||||||||||||||||||||||||||||||||||||||||||||||||||||||||||||||||||||||||||||||||||||||||||||||||||||||||||||||||||||||||||


关注官方微信