|
产品名称:DJ41Y低温法兰截止阀
产品型号:DJ41Y
产品口径:DN15~DN300
产品压力:1.6MPa~16.0MPa
产品材质:LCB碳钢、LC3不锈钢
产品口径:DN15~DN300
产品压力:1.6MPa~16.0MPa
产品材质:LCB碳钢、LC3不锈钢
产品名称:低温法兰截止阀 产品型号:DJ41Y 公称通径:DN15~DN300结构形式:截止式公称压力:1.6MPa~16.0MPa连接方式:法兰、焊接、螺纹适用温度:-29ºC~-196&
产品说明DJ41Y低温法兰截止阀适用于低温液体贮运设备的管理系统,具有开关灵活、密封可靠的特点,也可用于其他低温和深冷介质的管理系统。产品特点结构比闸阀简单,制造与维修都较方便。密封面不易磨损及擦伤,密封性好,启闭时阀瓣与阀体密封面之间无相对滑动,因而磨损与擦伤均不严重,密封性能好,使用寿命长。 启闭时,阀瓣行程小,因而截止阀高度比闸阀小,但结构长度比闸阀长。 启闭力矩大、启闭较费力,启闭时间较长。 流体阻力大,因阀体内介质通道较曲折,流体阻力大,动力消耗大。 介质流动方向 公称压力PN≤16MPa时,一般采用顺流,介质从阀瓣下方向上流;公称压力PN≥20MPa时,一般采用逆流,介质从阀瓣上方向下流.以增加密封件能。使用时,截止阀介质只能单方向流动,不能改变流动方向。 全开时阀瓣经常受冲蚀。 执行标准
压力试验
主要性能范围
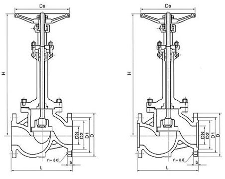
外形结构图![]() 主要外形尺寸
|
||||||||||||||||||||||||||||||||||||||||||||||||||||||||||||||||||||||||||||||||||||||||||||||||||||||||||||||||||||||||||||||||||||||||||||||||||||||||||||||||||||||||||||||||||||||||||||||||||||||||||||||||||||||||||||||||||||||||||||||||||||||||||||||||||||||||||||||||||||||||||||||||||||||||||||||||||||||||||||||||||||||||||||||||||||||||||||||||||||||||||||||||||||||||||||||||||||||||||||||||||||||||||||||||||||||||||


关注官方微信