|
产品名称:SYSG刷式过滤器
产品型号:SYSG
产品口径:DN50~DN500
产品压力:
产品材质:铸钢、不锈钢
产品口径:DN50~DN500
产品压力:
产品材质:铸钢、不锈钢
产品名称:刷式过滤器 产品型号:SYSG 公称通径:DN50~DN500结构形式:手摇刷式工作压力:1.6MPa~4.0MPa连接方式:法兰适用温度:-20ºC~+450ºC功能作
产品说明SYSG刷式过滤器结构为骨质猪鬓毛刷及不锈钢部件组成。该部件穿过过滤器盖,刷式装置安装在不锈钢网内部,过滤器盖外装一简单的手柄用于从滤网上刷除微颗粒在通过排污口排出,刷洗过程中水流不中断。不必停机和拆卸过滤器清洗过滤网,外壳为优质碳钢筒体。结构特点1、刷式过滤器结构合理,能有效过滤并迅速排出污物。2、操作简单:只需人工转动手柄开启排污阀即可,排污时间仅数秒,工作量小,劳动强度低。 3、质量可靠:转动轴采用机械密封,手柄转动灵活,并且克服传统填料式密封易渗漏的缺点。 技术特性
筛网目数与粒径(μm)
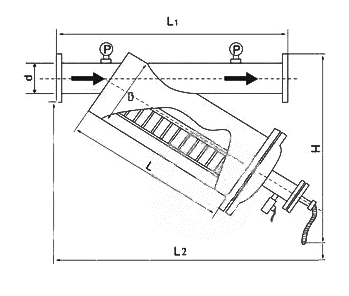
外形结构图![]() 主要外形尺寸
安装说明1、刷式过滤器安装简单,只需要按照设备桶体上箭头指示方向连接在管路上。2、设计时应尽量考虑排污口在下部,便于杂物的顺利排放。 3、排污管就近接人排水沟,且应保持排污顺畅。 4、为了便于观察过滤状况,应在进出口安装压力表。 5、排污时,应适当开启排污阀,再转动手柄,清理污物。 6、排污时,应根据排污情况,转动手柄,对过滤网进行清理。
|
|||||||||||||||||||||||||||||||||||||||||||||||||||||||||||||||||||||||||||||||||||||||||||||||||||||||||||||||||||||||||||||||||||||||||||||||||||||||||||||||||||||||||||||||||||||||||||||||||||||||||||||||||||||||||||||||||||||||||||||||||||||||||||||||||||||||||||||||||||||||||||||||||||||


关注官方微信