|
产品名称:BY41H-Y型保温过滤器
产品型号:BY41H
产品口径:DN40~DN450
产品压力:
产品材质:铸钢、不锈钢
产品口径:DN40~DN450
产品压力:
产品材质:铸钢、不锈钢
产品名称:Y型保温过滤器 产品型号:BY41H 公称通径:DN40~DN450滤网材料:不锈钢工作压力:1.6MPa~6.4MPa连接方式:法兰适用温度:-20ºC~+450ºC功
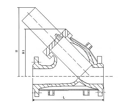
产品说明BY41H-Y型保温过滤器是用于水、油、气、沥青等管路和各种设备上不可缺少的一种保温装置,通常安装在减压阀、泄压阀、定水位器或其它设备的进口端,用来清除介质中的杂质,以保护阀门及设备的正常使用。Y型保温过滤器具有结构简单,阻力小,排污方便等优点。在阀体外部焊装有金属夹套,并设有夹套接口,可涵入蒸气或其它过热气体,以保护阀内介质不会在常温下凝固或结晶。同一规格口径的情况下,保温型过滤器的连接尺寸要比Y型过滤器大一到两个规格。结构特点1、Y型保温过滤器具有结构简单,阻力小,排污方便等优点。2、在阀体外部焊装有金属夹套,并设有夹套接口。 3、可涵入蒸气或其它过热气体,以保护阀内介质不会在常温下凝固或结晶。 性能规范:
外形结构图![]() 主要外形尺寸
|
|||||||||||||||||||||||||||||||||||||||||||||||||||||||||||||||||||||||||||||||||||||||||||||||||||


关注官方微信