|
产品名称:YZ11X不锈钢支管减压阀
产品型号:YZ11X
产品口径:DN15~DN50
产品压力:
产品材质:不锈钢、黄铜
产品口径:DN15~DN50
产品压力:
产品材质:不锈钢、黄铜
产品名称:不锈钢支管减压阀 产品型号:YZ11X 公称通径:DN15~DN50结构形式:弹簧式工作压力:1.0MPa~1.6MPa连接方式:内螺纹适用温度:-20ºC~+570ºC
产品说明YZ11X不锈钢支管减压阀主要用于各种建筑给水系统、消防系统、中央空调系统、采暖系统等。它用于支管减压,可使供水压力分配更加均衡,避免部分供水超压,优化高层建筑给水分区。它可代替分区调频变速水泵,在消防给水系统上可代替分区水泵,用于家用给水系统,可保护所有的水龙头和其它水器具。结构特点1、采用直接作用隔膜式结构,内部结构非常简单,无卡阻,性能可靠,经久耐用。2、耐脏防水垢,不需过滤器,不需旁通管,配管极其简单,能节省大量空间和配管成本。 3、极佳的水力特性,压力损失小,减压比可达成10:1以上。 4、可满足多种减压要求,特别适用于支管减压系统。 5、出口压力精密可调,在一般场合下,可以认为出口压力不受进口压力的影响(出口压力的变化量是△P1的8%)。 工作原理出口压力作用在隔膜底面和阀瓣底面,当它超过弹簧设定值时,压缩弹簧,使阀瓣关闭。只要下游无水流动,出口压力将基本保持在设定值(其变化量仅为入口压力变化量的8%);当下游用水时,出口压力下降,弹簧推开隔膜,打开减压阀。水流连续流通一阵后,减压阀的开启产生自阻尼效应,使启闭动作趋于平稳。技术参数
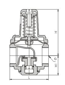
外形结构图![]() 主要外形尺寸
|
||||||||||||||||||||||||||||||||||||||||||||||||||||||||||||||||||||||||||||||||||||||||||||||||||


关注官方微信